+971 52 908 2919
My Account
Shopping Cart
Checkout
AutoKat Wholesale
0 item(s) - د.إ 0.00
Back to Products
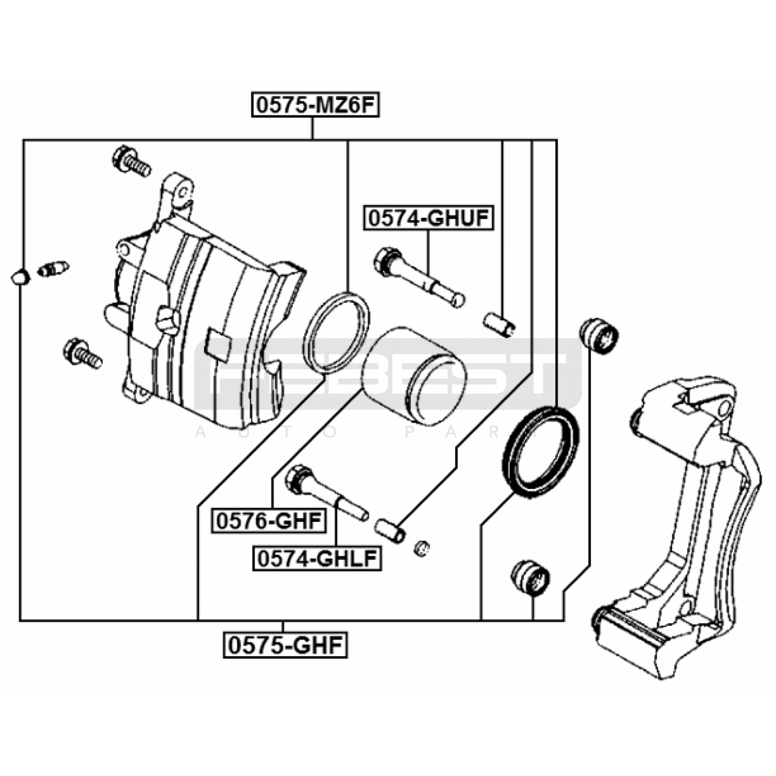
front brake caliper repair kit (set for two sides) FIT FOR MAZDA 6
FEBEST
Repair kit
1 / 2
Compatibility info
MAZDA:
GPYB-33-26Z
Product info
HS Code:
40169950
Weight [kg]:
0,043
Packaging width [cm]:
70
Packaging height [cm]:
18
Packaging length [cm]:
70
EAN:
4056111065793
11.20 د.إ
price per item (without TAX)
Quantity
-
+
Add to Basket
Transit
Contact for transit information
Vehicle Compatibility
Select a vehicle brand to view compatible models:
MAZDA
1 model (4 variants)