+971 52 908 2919
My Account
Shopping Cart
Checkout
AutoKat Wholesale
0 item(s) - د.إ 0.00
Back to Products
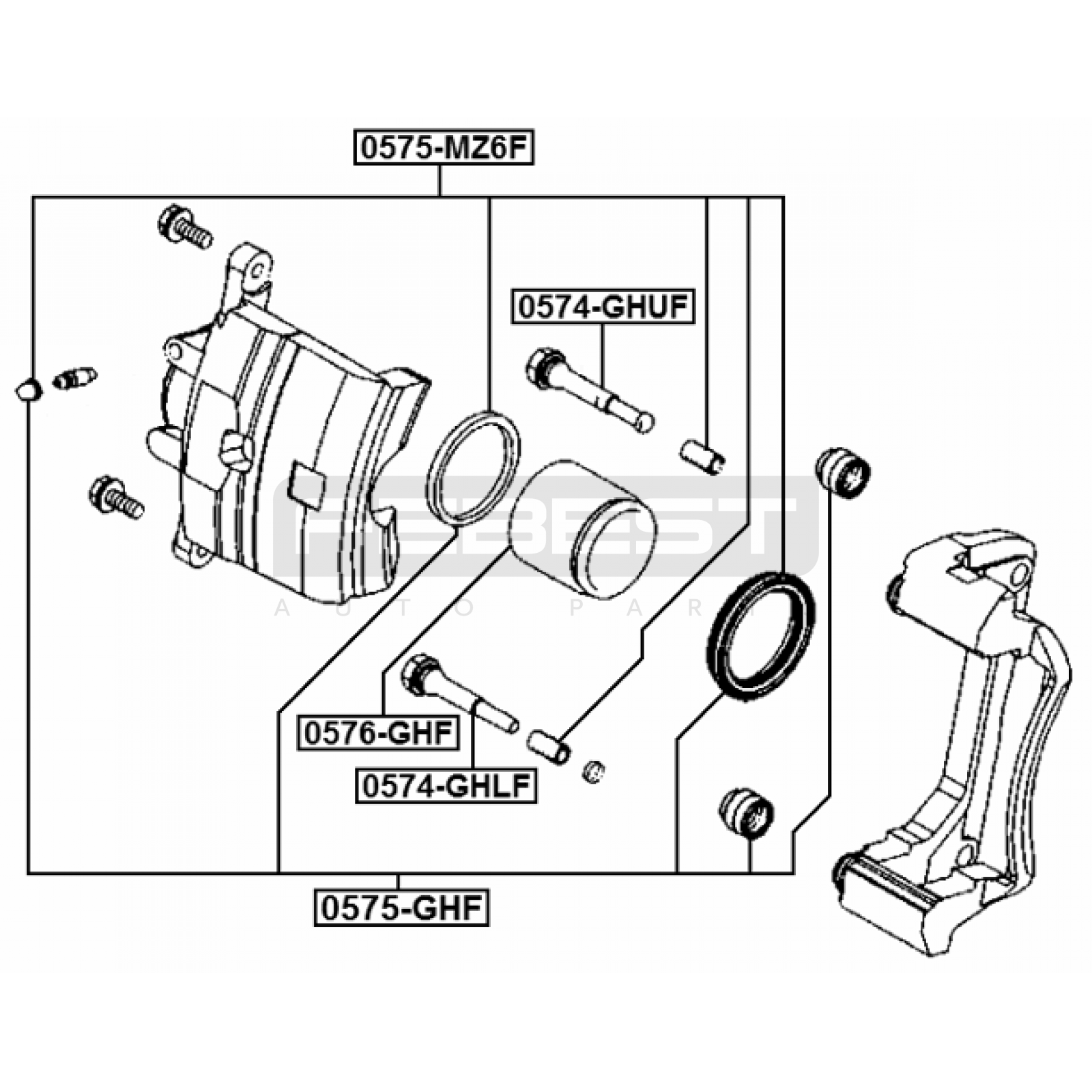
front brake caliper repair kit (set for one side) FIT FOR MAZDA 6
FEBEST
Repair kit
1 / 2
Compatibility info
A.B.S.:
721981 | 721982
BLUE PRINT:
ADM54864 | ADM54865
MAZDA:
GPYB-33-26Z | GS1D-33-61X | GS1D-33-71X
TRISCAN:
8170 344164 | 8170 344165
Product info
HS Code:
40169950
Weight [kg]:
0,018
Packaging width [cm]:
100
Packaging height [cm]:
20
Packaging length [cm]:
100
EAN:
4056111104089
14.62 د.إ
price per item (without TAX)
Quantity
-
+
Add to Basket
Transit
Contact for transit information
Vehicle Compatibility
Select a vehicle brand to view compatible models:
MAZDA
1 model (4 variants)